方运舟及其名下多家公司被限消 所持哪吒汽车股权被全部冻结
大象新闻记者 王礴舒
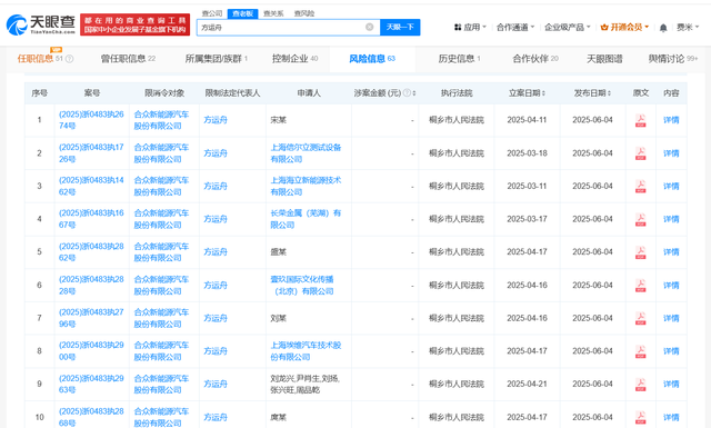
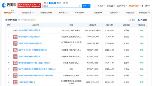
据媒体报道,近日,哪吒汽车总部内部宣布,员工自6月12日起居家办公,办公室门禁已经失效,员工搬离个人物品需由行政部门向属地相关部门和物业报备。有视频显示,不少员工围坐在哪吒汽车董事长兼CEO方运舟的新办公室门口讨薪。天眼查App显示,方运舟名下关联51家企业,其中49家处于存续状态,包括合众新能源汽车股份有限公司、哪吒新能源汽车制造有限公司、众联天下汽车销售服务有限公司等。方运舟在上述公司中担任法定代表人、董事长、股东等。天眼风险信息显示,方运舟现存多条限制消费令信息,限消令对象包括合众新能源汽车股份有限公司、北京哲合新能源科技有限公司、北京众联天下汽车销售服务有限公司等。此外,其名下还存在多条股权冻结信息,其中,今年5月,方运舟所持哪吒汽车关联企业合众新能源汽车股份有限公司股权被全部冻结,冻结股权数额2000万人民币,冻结期限自2025年5月13日至2028年5月12日。
审核 闫莹

还没有评论,来说两句吧...